Focolaio di Hamer
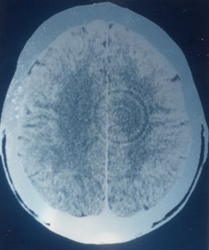
Il termine Focolaio di Hamer è stato coniato da alcuni detrattori delle scoperte del Dr. Hamer, che indicava delle immagini radiologiche nelle TAC cerebrali dei suoi pazienti. Si tratta di immagini presenti nel contesto della massa cerebrale, ma anche in altre aree corporee e sono la visualizzazione di relè di attivazione organica che vengono chiamati in causa quando si verifica una DHS.
La radiologia ufficiale indica questi FH come artefatti.

A seconda della fase biologica in cui si trovano, questi focolai hanno aspetti diversi.
Nella fase CA la visualizzazione è di cerchi concentrici ben definiti.
Una volta avvenuta la conflittolisi e con la edemizzazione del FH, i margini di visualizzazione divengono più indefiniti.
Con la guarigione completa il FH mostra un aspetto biancastro ad indicare un ispessimento della glia periferica.
Questa ultima fase, con la cicatrizzazione e la produzione di molta glia, viene interpretata dalla Medicina Ufficiale come sospetto glioblastoma.
Le cose diventano molto serie quando ci sia stata una ripetuta recidiva conflittuale o se il conflitto è rimasto attivo per molto tempo.


